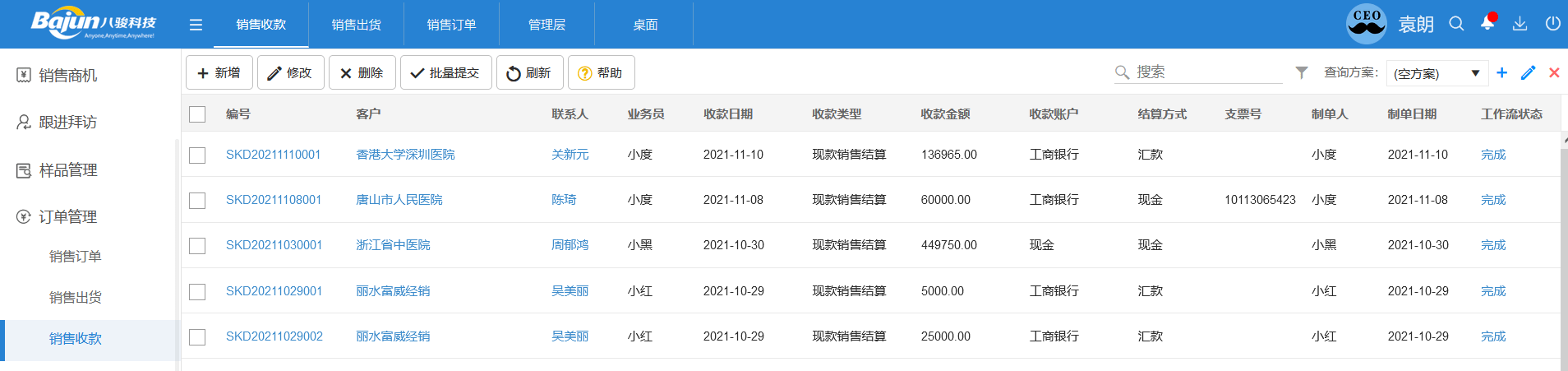
銷售收款管理
八駿醫療云是面向醫療設備、醫療信息化服務等醫療產品/服務企業的一站式業務管理系統,八駿醫療云功能強大覆蓋客戶+銷售+產品+項目管理內容!大幅提升項目贏單率,提高品牌影響力,在醫療行業備受好評!
在線演示? 155 5819 1031
垂直醫療行業
面向醫療器械、醫用設備/耗材、生物試劑、醫療服務等領域提供專屬CRM
在線使用
提供PC+移動端入口,不論是在拜訪客戶還是出差,隨時隨地完成業務工作
自定義拓展
從表單字段、列表到流程、報表、模塊等,可高度自定義,低代碼開發
累計服務超 60000
用戶
體驗醫療CRM?立即行動!
免費注冊


