渠道授權管理
八駿醫療云是面向醫療設備、醫療信息化服務等醫療產品/服務企業的一站式業務管理系統,八駿醫療云功能強大覆蓋客戶+銷售+產品+項目管理內容!大幅提升項目贏單率,提高品牌影響力,在醫療行業備受好評!
在線演示? 155 5819 1031
垂直醫療行業
面向醫療器械、醫用設備/耗材、生物試劑、醫療服務等領域提供專屬CRM
在線使用
提供PC+移動端入口,不論是在拜訪客戶還是出差,隨時隨地完成業務工作
自定義拓展
從表單字段、列表到流程、報表、模塊等,可高度自定義,低代碼開發
渠道授權管理
作者 八駿
2023-02-06 05:29:16
2023-02-06 05:29:16
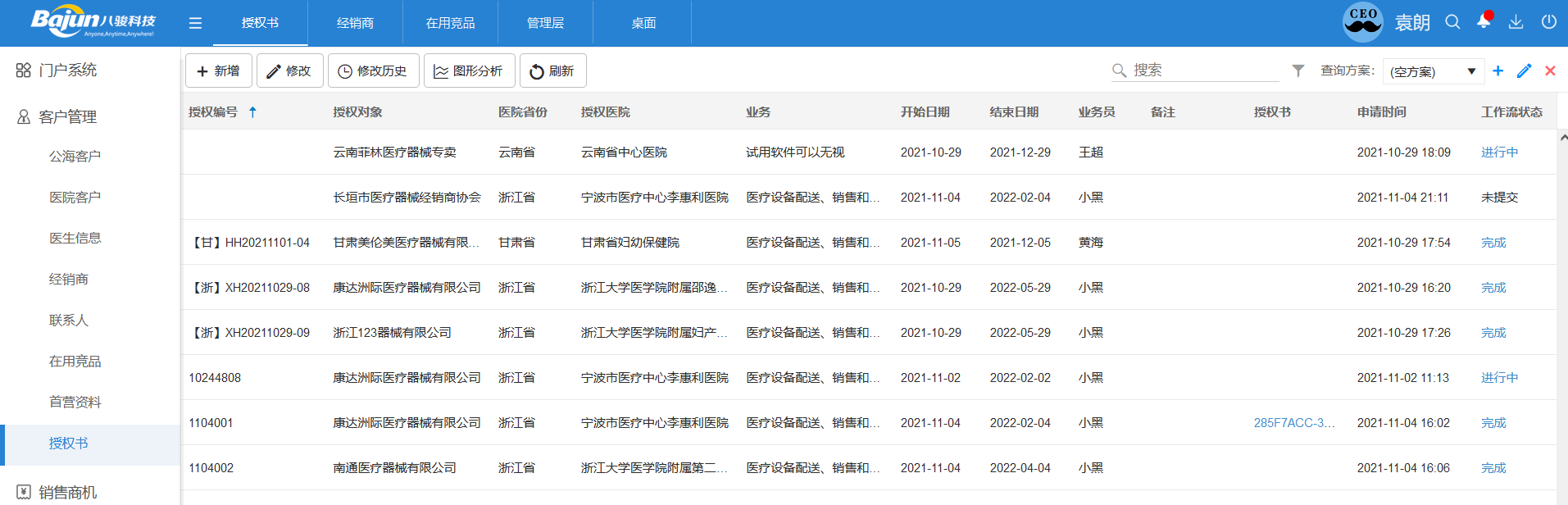
Bajun CRM渠道授權管理功能——可靈活設定審核流程
針對銷售渠道的授權有專用功能,為有資質的經銷售授權銷售區域、產品線等,可靈活設定授權審核流程,授權到期預警,在線生成授權書等。在Bajun CRM醫療版中可系統化管理:
支持系統中發起授權申請,可設置授權唯一性排他性提醒;
授權到期提醒,授權終止或取消系統審批;
相關資質證件和標準可在后臺維護,發起授權時快速勾選;
授權審批后,按模板打印授權書;

體驗專業的醫療CRM系統?掃碼注冊
累計服務超 60000
用戶
體驗醫療CRM?立即行動!
免費注冊

